[汽车之家 新能源] 日前福特向美国专利局申请了一项纯电动版F-150(参数|询价)的专利,该项专利曝光了纯电动版F-150将有一个前备厢,而且从车头的格栅处就可以打开,用于车主储存物品。

对于一辆皮卡,它的储物能力是很多人非常看重的,电动皮卡和传统燃油皮卡相比,不需要传统的机械传动机构,所以车内会有更多灵活空间可以利用。福特就打算在纯电动版F-150的前面设置一个前备厢。


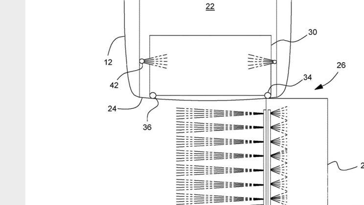
从专利图来看,这个前备厢可以从格栅处打开,而且内置了不少照明设备,方便车主取拿物品。在前备厢内部,福特还打算用可移动的箱子来分隔储物区域,这些箱子上设计有把手,车主可以方便地将其拿出,并进行不同形式的组合。

今年早些时候,福特确认计划将纯电动F-150推向市场,早前也放出了纯电动版F-150的预告视频。随着纯电动版F-150多项专利的曝光,纯电动版F-150的样貌也逐渐清晰,该车将和特斯拉CyberTruck电动皮卡形成竞争关系。关于该车的更多报道,请大家继续关注我们。(消息来源:motor1;编译/汽车之家 姜田双)
如文章侵权,请点击侵权投诉

网上有害信息举报专区
鄂公网安备 42018502001999号


•



提交后销售会尽快回复您底价


我已阅读并同意
提交成功

提交成功



























